Как сделать детские деревянные качели своими руками для полета с ветерком
Дети могут часами кататься на уличных качелях. Ребенка привлекает ощущение полета. В многоквартирных домах качели установлены на детских площадках, а на частных участках их ставят заботливые родители.
Простая конструкция дает возможность сделать подвесные качели своими руками. Более того, детей можно привлечь к процессу проектирования, строительства или декорирования.
Уличные деревянные качели – детская радость в полете
Изготовление качелей из дерева самая распространенная практика. Это неудивительно, ведь они отличаются такими достоинствами:
- экологичность;
- доступность пиломатериала;
- сравнительно низкая стоимость;
- простота работы с деревом;
- безопасность. Древесина материал мягкий, это снижает риск серьезного травмирования при падении.
Благодаря свойствам древесины, детские деревянные качели можно встретить практически в любом частном дворе или на даче. С точки зрения мобильности они делятся на стационарные и переносные. Качели из дерева, в отличие от металлических чаще делают стационарными, т.к. дерево не обладает достаточным, для устойчивого стояния весом (каркас деревянных качелей требует надежного закрепления).
Исходя из этой особенности необходимо продумать место установки качелей.
Где поставить качели?
Выбирая место нужно учесть:
- просматриваемость. Ребенок по возможности должен находиться на виду;
- удаленность. Хозяйственная зона и расположенный рядом водоем – не место для игр. В случае отсутствия других вариантов для установки, нужно оградить зоны забором. Также проследить, чтобы качели размещались на безопасном расстоянии от заборов, стен с окнами, деревьев и т.п. препятствий для полета. Устанавливать качели рядом с коммуникациями также не стоит;
- освещенность и затененность. Место установки должно быть светлым, но создавать тень, особенно летом в полуденное время;
- влажность. Уличные качели из дерева придут в негодность от чрезмерной влаги, не говоря уже о её вреде для ребенка;
- отсутствие сквозняков;
- отсутствие ядовитых растений, аллергенов, медоносов, колючих кустарников;
- рельеф поверхности в месте установки. Место установки качелей нужно выровнять. Тогда не придётся варьировать длину опорных столбов, а ребенку ничего не будет мешать наслаждаться любимой забавой;
- качество крепления каждого узла качелей.
Как сделать качели из дерева своими руками – пошаговая инструкция
Чтобы быть уверенным в надежности, нужно построить качели самостоятельно. Поэтапное руководство для новичков позволит обозначить правильное направление и план строительства.
1 этап – выбор конструкции детской качели из дерева
Детские деревянные качели должны быть безопасными – это аксиома! Во многом их способность устойчиво стоять определяется конфигурацией опоры (каркаса). До того, как приступить к работе, нужно определиться, какой каркас деревянных качелей будет оптимальным для установки. Ведь его форма влияет на безопасность конструкции и определяет место и способ его монтажа.
Виды и типы каркасов для качелей
П-образный каркас
Считается самой экономичной моделью. Для его изготовления используется меньше пиломатериала. Кроме того, опоры не мешают передвижению ребенка, и не могут стать причиной его травм по неосторожности. Однако для устойчивости конструкция нуждается в бетонировании опор, поэтому является стационарной. Каркас идеален для установки на мягкой почве и изготовления подвесных секционных качелей.
Л-образный каркас
Иногда его называют опора в виде перевернутой буквы «V». Более устойчив, по сравнению с предыдущим вариантом. Такой вариант позволяет не только повесить качели, но и создать детский уголок.
Х-образный каркас
Является разновидностью Л-образного, только крепление брусьев опор выполняется не в месте их стыка, а чуть ниже, на расстоянии 150-200 мм. В месте пересечения вертикальных брусьев укладывается перемычка. Это более простой способ изготовления опоры. Следует отметить, что такой каркас нуждается в дополнительном усилении в виде бокового упора.
А-образный каркас
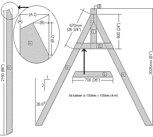
Самый надежный из всех конструкций, за счет перемычки, которая ее усиливает. Именно такому каркасу следует отдать предпочтение, если планируется расширение качелей за счет обустройства лестницы, установки каната для лазания и прочих элементов детской площадки.
2 этап – чертеж деревянной качели для детей
Наличие чертежа или эскиза качели помогает определить оптимальные размеры конструкции, рассчитать нагрузку, правильно выбрать сечение древесины для изготовления, определить количество материала и параметры заготовок.
Чертежи качели из дерева должны содержать:
- конфигурацию каркаса (форму);
- размеры деревянной качели. Следует отметить, что размеры качели – это высота, а также периметр основания;
- наличие и место установки дополнительных усиливающих элементов (косынок, распорок);
- количество и вид сидения (с учетом возраста ребенка);
- вид и длину подвеса (веревок, цепей, тросов и т.п.);
Можно сделать дополнительный чертеж с подетальной разбивкой и размерами заготовок.
Размеры деревянной качели определяются исходя из:
- возраста ребенка – от него зависит длина подвеса, размер и конфигурация сидения;
- роста – определяет длину подвеса.
Можно сделать качели «на вырост», тогда:
- оптимальная ширина сидения – 600 мм.
- высота сидения над землей – 500 – 550 мм. Это позволит с одной стороны раскачать и остановить качели самостоятельно, а с другой – не будет мешать катанию;
- высота от сидения до перекладины – 1 600 мм. Чтобы ребенку было удобно раскачаться стоя;
- общая высота качели от поверхности земли до перекладины определяется с учетом толщины сидения.
3 этап – материал для деревянных качелей
Чтобы сделать деревянные качели своими руками нужно правильно выбрать древесину. Лучше отдать предпочтение прочным породам древесины – дубу, лиственнице, или более дешевым из ели, сосны, березы. Главное, чтобы пиломатериал был сухим, хорошего качества, без выпадающих сучков, отверстий и прочих дефектов.
В зависимости от вида каркаса нужно подготовить:
- для П-образного каркаса – брус 80х80 или 100х50 – 2 шт. Для всех остальных видов каркаса – 4 шт.;
- для перекладины – брус (бревно) таким же сечением – 1 шт.;
- для сидения – доски 600х300х25 – 1 шт. Для изготовления сидения для детей до 2-х лет продумываются дополнительные элементы – спинка, ручки, ограждения;
- для подвеса – сварная цепь с антикоррозионным покрытием или прочная веревка (подойдет та, которую используют альпинисты). Длина подвеса равна двум высотам качели. В среднем – 4 500 мм – 1шт;
- для крепления каркаса – саморезы по дереву 80х4,5 – 40-50 шт., а также саморезы 50х3,5 – 250 шт.
- для крепления подвеса – карабин, подвесные крючки, стальные уголки. Количество – в зависимости от способа крепления;
- для обработки древесины (защиты) – грунтовка;
- для декора – краска или древесный лак.
- для бетонирования стоек – цемент, гравий и песок (для монтажа П-образного каркаса).
Из инструмента понадобится: шуруповерт, пила, рубанок, шлифмашинка, уровень, дрель, отвес.
4 этап – изготовление самодельной качели из дерева для дачи
От теории переходим к практической реализации проекта. Рассмотрим, как сделать деревянные подвесные качели своими руками.
Подготовка места для установки качели
После выбора места нужно убрать остатки строительного мусора, удалить колючие кустарники и выровнять площадку.
Подготовка пиломатериала
Уличные подвесные качели из дерева должны быть безопасны для детей. Поэтому, нужно прошлифовать каждую заготовку, чтобы исключить появления заноз. А также покрыть все деревянные элементы грунтовкой. Грунтовать можно уже готовые качели, но тогда есть вероятность разрушения древесины в местах соединения.
Установка каркаса для детских качелей из дерева
Как было рассмотрено выше, есть несколько способов устройства каркаса. Поэтому рассмотрим основные нюансы монтажа каждого из них:
П-образный каркас. Обустройство начинается с того, что скрепляются вертикальные стойки и верхняя перемычка. Затем нужно вырыть два углубления (глубина составляет 1/3 от высоты опоры). Насыпать на дно щебнево-песчаную подушку, установить стойку, забетонировать, подождать пока застынет бетон, и установить подвес с сидением.
Л и А-образные каркасы качелей обычно также собирают на земле. Порядок выполнения: четыре опоры запилить под углом, для более надежного соединения. Затем к узлу присоединить верхнюю перекладину. В случае с А-образным каркасом, добавляется перекладина, что делает конструкцию более устойчивой. Затем собранный каркас устанавливают на подготовленное место. Для надежности можно укапать в почву (предварительно обработав грунтовкой против гниения) или закрепить нижнюю часть опор к земле с помощью длинного прута и скобы.
Х-образный каркас для качелей. Делается аналогично предыдущему. Только торцы опор не запиливаются, а фиксируются друг с другом. В образованные верхние углы укладывается перемычка.
Слабое место Х, Л и А – образных каркасов в месте стыка вертикальных опор и перемычки. Чтобы сделать этот узел используются длинные саморезы, но, как отмечают мастера, целесообразно использовать патрубок-насадку подходящих размеров. На фото показан этот элемент и место его установки.
Устройство сидения для качелей
Способ изготовления и материал сидения для качелей, определяется возрастом ребенка. Дети не требовательны к дизайну, их вполне устроит сидение из покрышки или простая доска. При этом можно насчитать с десяток способов его изготовления.
Рекомендуем подробное описание, как сделать сидение для качели своими руками.
Крепление качелей к перекладине
Подвес (трос, веревка или цепь) крепится к перекладине. Подвес – это качельный узел для крепления качелей на перекладине. На подвес приходится максимальная нагрузка, а значит, к нему выдвигаются особые требования по безопасности.
Крепление подвеса качели и сидения можно выполнить несколькими способами с использованием разных крепежей:
перекинуть веревку через перекладину и завязать или закрепить скобой;
с помощью металлических накладок, которые крепятся к перекладине в верхней части;
с помощью карабина.
Материал подготовлен для сайта www.stolfactory-era.ru
Путем вкручивания в перекладину анкера и крепления подвеса к нему.
Путем охватывания бруса.
5 этап – декоративное оформление качелей
Декорирование деревянной качели выполняет двоякую функцию. С одной стороны – защищает древесину от воздействия внешних факторов. С другой, оригинальный дизайн качели формирует красивый и яркий элемент детской площадки. Главное правило – краски и грунтовки должны быть качественными и безопасными, чтобы не нанести вред здоровью ребенка.
В качестве дополнительного декора можно установить дополнительные перемычки на каркас, что позволит усилить его, а у детей появится лестница, которая будет интересна тем, кто ожидает очереди на катание.
Уход за качелями из дерева
Уход заключается в проверке:
- узлов крепления;
- подвеса;
- сидения;
- качества лакокрасочного покрытия.
Не рекомендуется:
- сообщать качели нагрузку большую, нежели та, на которую она рассчитана;
- избегать ударных нагрузок (резкое усаживание на сидение);
- стараться распределять вес по плоскости сидения (не крениться);
- кататься перпендикулярно опоре. Подвесные качели предназначены для катания вдоль опор;
- придерживаться умеренной амплитуды раскачивания, чтобы избежать опрокидывания незакрепленной качели.
Заключение
Надежность установки подвеса и сидения, а заодно и прочность всей конструкции проверяем на себе. Если под весом взрослого ничего не деформировалось, то и ребенка выдержит. Тем не менее, деревянные качели для дачи нуждаются в периодическом осмотре основных узлом и мест крепления.
Метки: Качели Детская площадка Дерево
14 929
0
-
Строительство дома из арболита (арболитовых блоков) – технология возведения, от фундамента до крыши
Такая ситуация, мне начали строить дом из арболита, но наделали кучу ошибок по кладке (ниже фото). Сейчас хочу взыскать с этих криворуких строителей компенсацию. По самому материалу претензий нет, -
Утепление входной металлической двери – правильная теплоизоляция своими руками
Бюджетный способ утеплить китайскую дверь от дяди Вани. В отличие от обычной пустотелой двери, в китайской хотя бы бумага внутри. Конечно, эти соты из прессованного картона мало помогут в мороз, но -
Входные двери с терморазрывом – металлические термодвери для частного дома
Установил термодверь в декабре 2015 года. До этого стояла стальная дверь, утепленная внутри полотна и по периметру. Температура в коридоре была ниже, нежели в комнатах (коридор отапливаемый). После -
Монтаж водосточной системы своими руками – установка водостоков для крыши
Пытались помочь в рамках своей компетенции.Раз уж комплектующие Деке, то разумно будет согласовать эти вопросы с ними.Да, в скором будущем на сайте будет отдельный материал по расчетам водосточной -
Монтаж водосточной системы своими руками – установка водостоков для крыши
У Docke эти странные требования заложены в pdf инструкцию по монтажу водосточной системы. Формулу я вывел сам, это не сложно, задачка в пределах школьного курса геометрии. Дело в том, что я купил их -
Монтаж водосточной системы своими руками – установка водостоков для крыши
Не уверенны, что сможем дать однозначный ответ насчет градусов. Откуда вообще эта формула, на сайте Деке не нашли. Спросили у ребят, которые профильно занимаются монтажом водостоков. Сказали, что -
Монтаж водосточной системы своими руками – установка водостоков для крыши
Интересно, что те же Дёке, несмотря на свои рекомендации, дают фотографии своих монтажных работ по крутым скатам, которые явно им противоречат (фото). Там скаты смотрят в жёлоб, а не поверх него. Моя -
Монтаж водосточной системы своими руками – установка водостоков для крыши
Спасибо за развёрнутый ответ, но он не во всём разъясняет проблему, поэтому уточню вопрос. На прилагаемых рисунках, взятых из рунета, показано то самое поперечное сечение, о котором я говорю, с -
Установка забора из сетки рабицы своими руками – пошаговая инструкция
В описанном вами случае, нужно использовать квадратный профиль с сечением не менее 100х100 мм. Ввиду того, что планируется посадка вьющихся растений желательно устанавливать одинаковый профиль по -
Как сделать калитку из сетки рабицы для дачи своими руками
Выбирается индивидуально, но согласно логике, распашная калитка и ворота из рабицы (как и любые другие) должны открываться наружу. Объясняется несколькими причинами. Первая – при экстренной ситуации,













































