» » » Сиденье для качелей – из чего и как сделать, чтобы удобно было кататься

Сиденье для качелей – из чего и как сделать, чтобы удобно было кататься

Детские подвесные качели для улицы с точки зрения конструкции не отличается разнообразием: несколько вариантов каркаса, подвес на цепи или веревке, плюс, сидушка.

Вот и наверстывают мастера упущенное, придумывая самые необычные сиденья для качелей, большинство из которых можно сделать своими руками из подручных средств (остатки пиломатериала после строительства качели: доски, рейки, брус, бревно).

 

Сиденье для качелей своими рукамиСиденье для качелей своими руками

Детское сиденье для качели своими руками – набор идей

В этой статье рассмотрим, как сделать сидение для качелей такими, чтобы они были удобными, красивыми, недорогими и надежными.

1. Выбор материла для устройства сидения


Из чего можно сделать сиденье на качели-балансир?

  • из твердых материалов – фанера, доска, брус, бревно, пластик;
  • из мягких материалов – поролон, войлок уложенные в чехол;
  • вообще оставить без сидения, ведь вполне удобно можно разместиться и на самом балансире из дерева (коромысле).

Из чего сделать сиденье для уличных подвесных качелей?


Из пластика

Пластиковое сиденье для качелей самое доступное по цене. Сидушка из пластика приобретается в готовом виде и устанавливается на качели. Недостаток в недолговечности и малой прочности. Если на сиденье сядет несколько детей (а они умудряются уместиться вдвоем-втроем-вчетвером), то пластмасса не выдержит и поломается. Кроме того, любой пластик портится под воздействием ультрафиолета и низких температур. Для улицы его покупают редко, т.к. в этих условиях срок его жизни весьма краток;

Из металла

Металлическое сиденье подходит для качелей из металла, которые устанавливаются на детских площадках общего пользования. Однако качели с металлическим сидением совершенно не привлекают детей, когда жарко (сиденье очень горячее) или холодно (зимой). Поэтому для домашних качелей такой вариант не приемлем;

Из резины

Резиновое сидение подходит для интенсивной эксплуатации. Сидеть на нем не вполне удобно, а кататься стоя просто опасно, поэтому только немногие родители отдают ему предпочтение;

Из ткани

Чехол с наполнителем (подушка, матрац) не может самостоятельно выступать в качестве сидения, но их укладывают поверх основной конструкции, чтобы ребенку, особенно малышу, было комфортно. Мягкое сиденье гарантирует, что малыш не причинит себе вреда во время пребывания на качели. Однако ткань боится воды, следовательно, его нужно не забывать заносить в дом;

Из обруча, веревки и резинки

Из обруча можно сделать качели-гнездо (паутина). Для изготовления используют обруч 120 см. в диаметре и переплетают веревкой по технологии макраме. Круглая сидушка-паутина выглядит очень стильно. Обычно этот материал используется для изготовления подвесных качелей для сада;

Из автомобильной шины

Старые покрышки можно подвязывать как уже готовый элемент или формировать из них разные фигуры. Следует отметить, что прочность фигурного сидения из покрышки намного ниже, нежели целой;

Из дерева

Самый простой и удобный материал для обустройства сидения, поскольку с одной стороны доступен и прост в обработке. А с другой – предоставляет неограниченный простор для фантазии. Ведь резное сиденье для детских качелей из дерева может стать произведение искусства;

Из фанеры, ОБС, ДСП

Более бюджетные вариант древесных материалов для сидения. Их общий недостаток в том, что они многослойные. В качестве связующего вещества, применяется формальдегид, который является опасным канцерогеном, а также они разбухают от влаги, поэтому не подходят для уличных качелей.

2. Выбор материла подвеса для качелей

Подвес – это то, что удерживает сидение на каркасе качели. Для устройства подвесов применяют такие материалы:

Для гибких подвесов:

  • цепь. Нужно выбирать цепь с цельными звеньями, а не согнутыми. В противном случае звенья могут раскрутиться (разогнуться) и сидение оборвется;
  • веревка (шнур). Лучше использовать альпинистскую веревку, как наиболее прочную;
  • металлический трос;
  • ремни достаточной прочности.

Для жестких подвесов:

  • дерево;
  • металл.

3. Расчет количества подвесов для качелей

Способ крепления зависит от того сколько подвесов будет использовано:

  • один подвес. Такие подвесные качели требуют хорошо развитого вестибулярного аппарата, чтобы удерживать равновесие и раскачиваться;
  • два подвеса. Самый удобный для ребёнка вариант, т.к. подвесы, расположенные по обе стороны сидения, являются удобными для держания и раскачивания.
  • три подвеса. Требуется умение держать равновесие при катании на таких качелях. Используется при обустройстве сидения круглой формы.
  • четыре подвеса. Хорош для крепления широкого сидения для садовых качелей, а также для случая, когда устанавливается сиденье для качелей со спинкой.

Как сделать сидение для качели своими руками

Деревянное сиденье

Самый простой способ изготовить сидушку для качелей – отпилить кусок доски и зашлифовать ее. Размер можно брать с запасом или с учетом параметров ребенка.

Сидение-бревно

Два хорошо отполированных бревна связываются между собой. Это удобный способ сделать сидение быстро и заодно закрепить его на подвесе.

Сиденье из наборных дощечек

Нарезаются деревянные планки определенного размера (одной длины и ширины), высверливаются продольные отверстия, через которые пропускается веревка.

Сиденье для качелей из старого стула

Используется стул со спинкой без ножек, подвешивается на веревки. Если конструкция позволяет, стул можно подвесить путем засверливания отверстий в сидении, если нет, нужно добавить снизу две перекладины. Закрепить на них стул и подвесить.

Необычное деревянное сидение для качелей

Такое сугубо функциональное изделие как сидение может быть местом реализации творческой фантазии родителей. Резное или оригинальное сидение-самолет, или корабль – все это только порадует детвору. Тем, кто сомневается, пользователи советуют вырезать пробный шаблон сидения из картона, а затем переносить чертежи на дерево (или сделать из картонных элементов трафарет).

Сиденье для качелей из автомобильной покрышки

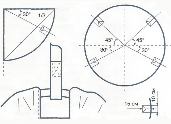
Старую шину можно подвесить в первозданном (целом) виде или вырезать из нее фигуру животного (лошадка, лебедь). Схема раскроя покрышки приведена ниже. Это простой и доступный способ сделать сиденье для качелей из покрышки на цепях для дачи.

Сиденье круглое из сетки и обруча (качели-гнездо)

Первый способ – сплести паутину из веревки по технике макраме. Для того чтобы сделать качели в виде круглого плетеного гнезда (сетка), нужно подготовить прочный обруч (или два разного диаметра, 120 и 60 см, если планируется спинка), поролон (чтобы ободок был мягким) и моток веревки. Техника изготовления качели "гнездо" своими руками показана на схеме.

Обруч для изготовления качели-гнездоОбруч для изготовления качели-гнездоСвязка двух обручей для качели-гнездоСвязка двух обручей для качели-гнездоПлетение сетки для качели-гнездоПлетение сетки для качели-гнездоСхема вязки паутины для качелиСхема вязки паутины для качелиКачели-паутинаКачели-паутинаПодвесные качели-гнездоПодвесные качели-гнездо

Второй способ – использовать ткань вместо паутины.

Схема подвесной качели "гнездо" из обруча и тканиСхема подвесной качели "гнездо" из обруча и тканиКрепление подвесной качели "гнездо"Крепление подвесной качели "гнездо"Мастер-класс по изготовлению подвесной качели "гнездо"Мастер-класс по изготовлению подвесной качели "гнездо"Как сделать качели "гнездо"Как сделать качели "гнездо"

Сиденье для качели из паллет

Сидушка из деревянного паллета может стать полноценным спальным местом, при условии грамотного крепления подвесов.

Сидение из металла

Металлические сидушки для дачи обычно не делают. Во-первых, они горячие летом и холодные зимой. Во-вторых, изготовление трудоемко. В-третьих, эксплуатация более опасна. Поэтому чаще всего делают металлический каркас качели и деревянное сиденье.

Детское сидение для малышей

Сиденье для детей до 3-х лет обязательно делают со спинкой. Как правило, спинки сидения качелей изготавливают из ткани или досок. Тканевые сидения предназначены для самых маленьких, а вот качели с деревянным сиденьем предназначены для тех, кто уверенно держится «в седле». А если установить доску на передний план качели, можно совместить сидушку и столик для кормления.

Совет. Чтобы ребенок не выскользнул из качелей нужно предусмотреть впереди планку-упор. Кроме того, для удобства ребенка ручки (подлокотники) должны быть жесткими.

Как закрепить (подвесить) сидение детской качели

  • вырезать уголки в деревянном сидении с противоположных сторон и «одеть» сидушку на веревочный подвес. В этом случае сидение ничем не крепится и держится на подвесе под весом ребенка. Можно сделать двойной запил, это позволит избежать опрокидывания сидения;
  • в подготовленном деревянном сидении высверлить четыре отверстия и протянуть через них веревки. Так, чтобы веревка в одно отверстие зашла, а из другой вышла. Чтобы избежать растрескивания сидения к краю от места сверления, можно усилить узел дополнительным бруском или деревянной накладкой (тогда ее нужно высверлить). Такой способ крепления подойдет и для сидения со спинкой. Подвесы можно завести сверху и затянуть снизу в узел;
  • прикрепить к подготовленному сидению две проушины и в них завести подвесы. Способ универсальный, позволяет крепить как деревянное, так и любое другое сидение. Единственно возможный способ закрепить сидение на цепях в качестве подвеса. Хорошо зарекомендовало себе при креплении покрышек;
  • просверлить отверстие в сидении и завязать снизу узлом.

Заключение

Как видим, есть много вариантов сделать сидения на детские качели, от самых простых до оригинальных. Но, при работе нужно помнить, что внешний вид конструкции, это задача второстепенной важности, на первом плане стоит безопасность и комфорт ребенка при катании.

Метки: Качели Детская площадка


16 451
0

Рекомендуем статьи на похожие темы

Как сделать детские деревянные качели своими руками для полета с ветерком
Как сделать уличные подвесные качели из дерева для детей своими руками. Изготовление самодельных детских деревянных качелей для улицы – чертеж,...
Как сделать деревянную песочницу своими руками – территория для детского творчества на даче
Деревянная песочница для дачи – как сделать детскую песочницу своими руками с крышкой из дерева, пошаговая инструкция. Чертеж, разметка, материал,...
Как построить детский деревянный домик на даче и на дереве
Как сделать детский домик из дерева самостоятельно. Пошаговая инструкция по строительству деревянного домика для детей. Устройство основы, пола, стен...
Как сделать детскую площадку – рекомендации и варианты обустройства
Как сделать детскую игровую площадку во дворе, где разместить, что учесть, какие материалы использовать. Песочница, качели, домик, спортивный...
Дачный биотуалет - компактное устройство, как альтернатива стационарному туалету
Устройство и принцип действия биотуалета и торфяного туалета. Преимущества использования на даче и загородном участке....

Оставьте свой комментарий
Ваше Имя:
Ваш E-Mail:
Код:
Кликните на изображение чтобы обновить код, если он неразборчив
Введите код:
Навигатор по сайту
Новое Советы Метки
Строительный демотиватор

Строительный демотиватор - смешные приколы и фото забавных ситуаций из жизни и на стройплощадке
Популярное Обсуждения
Прокрутить вверх